Zum Hauptinhalt springen Zur Suche springen Zur Hauptnavigation springen

Menü

KAT I Sicherungsbolzen für Unterlenker

Beschreibung

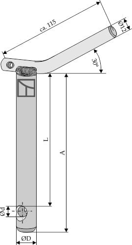
KAT I Sicherungsbolzen für Unterlenker

Gewicht 0,550 kg
D 22
A 135
L 115
Kategorie I
d 12