Skip to main content Skip to search Skip to main navigation

Menu

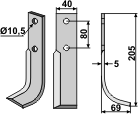
Milling cutter FMO-03R

Description

Milling cutter FMO-03R